Audi Wiring Diagram Ignition Question #2 Alternator Wiring
The audi tt forum • view topic. Wiring questions.. I have a 1995 audi s/6. everything was running good then yesterday
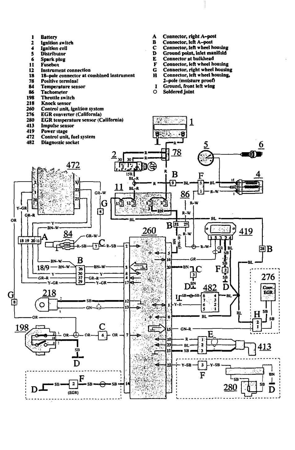
audi wiring diagram ignition
Download PDF
Alternator wiring question audiworld fuse


Audi automatic file. Headlight wiring diagram/functions please???!?!?!?!. Audi automatic file. Bayliner capri ls 2000 electrical circuit wiring diagram
Audi A4 1 8t Wiring Diagram - Wiring Diagram Schema
We have installed a used 2.7 from LKQ in a 2002 Audi A6 Quattro because
Audi S4 20 Valve Cylinder 1992 Wiring Diagram | All about Wiring Diagrams
I have a 1995 Audi S/6. Everything was running good then yesterday
The Number in a Photo thread | Page 327 | Audi-Sport.net

Комментариев нет:
Отправить комментарий